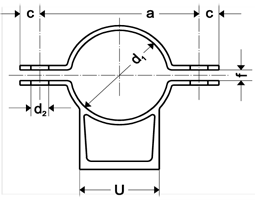
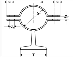
Rohrschlitten/Gleitlager
Oberflächen: roh/blank (ST) - galvanisch verzinkt (gv) - feuerverzinkt (fv)
Grundiert, glasperlgestrahlt, andere Abmessungen, Werkstoffe, Flachstähle und T-Stähle auf Anfrage
Werkstoffe: 1.0038 / S235JRG(ST) - 1.4301(A2) - 1.4571 (A4)
Download PDF, Size 154 kB

